Описание дождеприемника ДБ 2
Дождеприемники железобетонные (ДБ) ГОСТ 26008-83 применяются для сбора и отвода поверхностных вод в системах ливневой канализации. Изделия изготавливаются из высокопрочного бетона с армированием стальной арматурой, что обеспечивает их прочность, устойчивость к нагрузкам и долговечность.
Применение дождеприемника ДБ 2
Дождеприемник ДБ 2 используется как элемент системы водоотведения для сбора дождевых и талых вод с поверхности дорог, тротуаров и других территорий. Он служит важной частью системы, обеспечивающей эффективный отвод воды и предотвращение затопления. Для монтажа могут применяться дополнительные элементы: решетка, закладные детали и другие комплектующие.
Типы дождеприемников
Дождеприемники железобетонные подразделяются на несколько типов в зависимости от размеров и назначения:
- ДБ: стандартный дождеприемник;
- ДБУ: усиленный дождеприемник;
- ДБЛ: дождеприемник для лотковых систем;
- ДБП: дождеприемник повышенной вместимости.
Размеры зависят от типа: длина 500–1500 мм, ширина 400–800 мм, высота 100–300 мм.
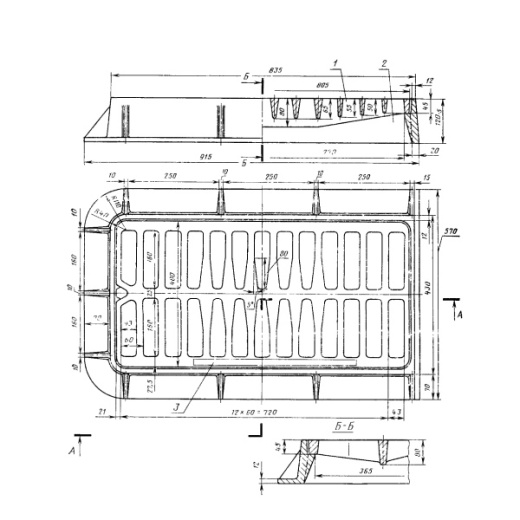
Основные параметры, размеры и характеристики
- Вес, кг: 140
- Высота решетки, мм: 45
- Высота (h), мм: 120
- Геометрический объем, м³: 0,063
- Объем бетона, м³: 0,056
- Длина решетки, мм: 800
- Длина (L), мм: 915
- Ширина решетки, мм: 400
- Ширина (b), мм: 570
- Площадь живого сечения, м²: 0,187
Дополнительные характеристики
- Класс бетона: В25 (марка М350)
- Марка по морозостойкости: F200–F300
- Марка по водонепроницаемости: W6–W8
- Закладные детали:
- Решетка (защита от крупного мусора);
- Корпус (основная несущая конструкция).
- Технология изготовления: вибропрессование или формование с использованием высокопрочного бетона.
Нормы загрузки
- Норма загрузки в автотранспорт 20 т, шт: 142
Документы
- Нормативный документ: ГОСТ 26008-83
Расшифровка маркировки ДБ 2
Маркировка "ДБ 2" содержит следующую информацию:
- ДБ – дождеприемник железобетонный;
- 2 – индекс серии, характеризующий габаритные размеры и расчетную нагрузку.
Условия транспортировки и хранения
Дождеприемники ДБ 2 перевозятся автомобильным или железнодорожным транспортом с использованием специальных захватных устройств (строп). Хранение осуществляется на ровных площадках с твердым покрытием. Дождеприемники устанавливаются горизонтально в штабель высотой не более 2,5 м. Для предотвращения повреждений между изделиями устанавливаются деревянные прокладки.
Контроль качества дождеприемника ДБ 2
Каждый дождеприемник ДБ 2 проходит многоступенчатый контроль качества в соответствии с ГОСТ 26008-83. Проверяются:
- прочность бетона (не ниже класса В25);
- соответствие геометрических размеров проектным данным;
- качество армирования (наличие арматурного каркаса, толщина защитного слоя бетона);
- морозостойкость и водонепроницаемость бетона;
- точность расположения закладных элементов;
- отсутствие трещин, сколов и других дефектов.
Заключение
Дождеприемник ДБ 2 – надежный и долговечный элемент для системы ливневой канализации. Благодаря строгому соблюдению требований ГОСТ 26008-83 и использованию качественных материалов, он обеспечивает прочность, устойчивость и долговечность конструкций. Для заказа качественных железобетонных дождеприемников обращайтесь к производителям с сертификатами соответствия и опытом работы в сфере ЖБИ.
Смотрите также:
| Варианты написания товара |
|---|
| Дождеприемник ДБ 2 |
| ДБ 2 дождеприемник |
| Дождеприемник ДБ2 |
| ДБ2 дождеприемник |
| ДБ 2 |
| ДБ2 |
| Дождеприемник ДБ 2 ГОСТ 26008-83 |
| ДБ 2 ГОСТ 26008-83 |
| ДБ2 ГОСТ 26008-83 |
|
ГОСТ/Серия
|
ГОСТ 26008-83 |
|
Длина, мм
|
915 |
|
Ширина, мм
|
570 |
|
Высота, мм
|
120 |
|
Масса, тонн
|
0.14 |
|
Объем бетона, куб.м
|
0.056 |
|
Геометрический объем, м.куб
|
0.063 |
|
Закладная 1
|
Решетка |
|
Закладная 2
|
Корпус |
Как купить
Процесс покупки железобетонных изделий у нас прост и удобен. Следуйте этим шагам:
- Выбор продукции: Ознакомьтесь с нашим ассортиментом и выберите необходимые железобетонные изделия.
- Консультация: Свяжитесь с нашим менеджером для получения консультации по выбору продукции и уточнения всех деталей. Вы можете позвонить нам или написать на электронную почту.
- Оформление заказа: После согласования всех деталей оформите заказ. Менеджер поможет вам заполнить все необходимые документы.
- Согласование доставки: После оформления заказа наш менеджер свяжется с вами для согласования условий и сроков доставки.
- Оплата: Выберите удобный способ оплаты. Мы предлагаем несколько вариантов, включая безналичный расчет.
- Получение товара: После выполнения всех условий заказа, вы получите железобетонные изделия в назначенное время и по согласованному адресу. При получении подпишите акт приема-передачи.
Если у вас возникли вопросы на любом этапе покупки, не стесняйтесь обращаться к нашим менеджерам!
Оплата
Мы принимаем только безналичные платежи и работаем исключительно с юридическими лицами. Пожалуйста, ознакомьтесь с условиями оплаты ниже:
- Способ оплаты: Все расчеты производятся безналичным путем. Мы не принимаем наличные.
- Счет на оплату: После оформления заказа вам будет выставлен счет, который необходимо оплатить в срок, указанный в документе.
- Реквизиты: Все необходимые банковские реквизиты будут предоставлены в счете. Убедитесь, что все данные указаны правильно для успешного перевода.
- Подтверждение оплаты: После осуществления платежа отправьте нам подтверждение, чтобы мы могли оперативно обработать ваш заказ.
- Получение документов: После полной оплаты вы получите все необходимые документы, включая акт выполненных работ, товарные накладные и сертификаты на продукцию.
Мы работаем с НДС и предоставляем все необходимые сертификаты и документы. Все гарантии будут прописаны в договоре, что обеспечивает прозрачность и надежность сотрудничества.
Если у вас есть вопросы по поводу процесса оплаты, не стесняйтесь обращаться к нашим менеджерам за помощью!
Наша оперативность — ваше удобство. Мы гарантируем своевременную доставку железобетонных изделий, что является ключевым фактором для успешной реализации ваших строительных проектов. Доставка осуществляется прямо к вашему объекту с учетом всех стандартов качества.
Основные условия доставки:
• Выбор тарифа: Вы можете выбрать способ расчета стоимости доставки — почасовой или по зонам.
• Согласование: Менеджер свяжется с вами для уточнения деталей после оформления заказа.
• Время на погрузку: Комплектация товара занимает от 1 до 3 дней в зависимости от объема.
• Акт приема-передачи: Продукция передается по акту приема-передачи.
Тарифы на доставку:
Цены варьируются в зависимости от расстояния и региона. Все тарифы включают НДС. При неблагоприятных погодных условиях возможны небольшие изменения в стоимости.
География доставки:
Мы работаем по всей территории РФ и имеем 12 офисов и производств, чтобы обеспечить удобные условия для доставки.
Для точного расчета стоимости доставки обращайтесь к нашим менеджерам!

